| штат: | |
|---|---|
| Количество: | |
PHW-28K-S
Piezohannas
PHW-28K-S
30 кГц подводный ультразвуковой преобразователь измерения уровня грязи в грязевых ямах
Технические параметры:
Предметы | Технические параметры | Изображение | |
Имя | 28КГц под водойУльтразвуковой датчик для уровня грязи |
| |
Модель | PhW-28K-S. | ||
Частота | 28КГц±5% | ||
Обнаружение расстояния | 1000м | ||
Минимальный параллельный LMpedance | 270Ω ± 20% | ||
10000pf ± 20%@1 кГц | |||
Чувствительность | |||
Вершина горы Напряжение<2000Vpp | |||
-40~+80 ℃ | |||
≤10Килограммы или 1mpa | |||
(Продолжительность пучка) Ширина луча полуосновной@-3db:53.7° ±10% | |||
Жилищный материал | АБС | ||
Применение | Ультразвуковой проточный схема, подводной дальномер | ||
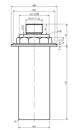
См. Рисунок структуры продукта для деталей | |||
Уровень защиты | IP68 | ||
Масса | 1030 г ± 5% (Длина провода: 2м) | ||
Инструкции по проводке | Красный: датчик +, синий: датчик температуры +, черный: public -; Синий и черный проволока датчика температуры (MF58); | ||
Кривая допуска | Структура продукта | ||
| |||
Блок -схема ультразвукового преобразователя :
Схематическая схема датчика температуры (Модель: MF58_502F3470):
Инструкция кабеля интегрированного типа:
1. Проводная инструкция преобразователя: интерфейс (3PIN, 2,54 мм терминал)
Красный: датчик +
Белый: преобразователь -
Черный: экранирование
2. Крайняя инструкция датчика температуры: раздела (3PIN, 2,0 мм терминал)
Красный и черный - проводка датчика температуры
Тип разделения: стандартный 10 -метровый кабель с каждым дополнительным 50 м кабеля, ослабление сигнала составляет 6 дБ
Трехъядерные инструкции по проводке:
Красный: датчик +
Синий: датчик температуры +
Черный: публичный-
Четырехъядерные инструкции по проводке:
Красный: датчик +
Желтый: преобразователь-
Синий, черный: датчик температуры
Применение уровня грязи:
В грязных резервуарах мешалки или струйные сопла размешают и смешайте грязь, чтобы обеспечить однородную смесь. Чтобы обеспечить непрерывный процесс, измерение уровня должно быть надежным и не зависящим от состава буровой грязи.
30 кГц подводный ультразвуковой преобразователь измерения уровня грязи в грязевых ямах
Технические параметры:
Предметы | Технические параметры | Изображение | |
Имя | 28КГц под водойУльтразвуковой датчик для уровня грязи |
| |
Модель | PhW-28K-S. | ||
Частота | 28КГц±5% | ||
Обнаружение расстояния | 1000м | ||
Минимальный параллельный LMpedance | 270Ω ± 20% | ||
10000pf ± 20%@1 кГц | |||
Чувствительность | |||
Вершина горы Напряжение<2000Vpp | |||
-40~+80 ℃ | |||
≤10Килограммы или 1mpa | |||
(Продолжительность пучка) Ширина луча полуосновной@-3db:53.7° ±10% | |||
Жилищный материал | АБС | ||
Применение | Ультразвуковой проточный схема, подводной дальномер | ||
См. Рисунок структуры продукта для деталей | |||
Уровень защиты | IP68 | ||
Масса | 1030 г ± 5% (Длина провода: 2м) | ||
Инструкции по проводке | Красный: датчик +, синий: датчик температуры +, черный: public -; Синий и черный проволока датчика температуры (MF58); | ||
Кривая допуска | Структура продукта | ||
| |||
Блок -схема ультразвукового преобразователя :
Схематическая схема датчика температуры (Модель: MF58_502F3470):
Инструкция кабеля интегрированного типа:
1. Проводная инструкция преобразователя: интерфейс (3PIN, 2,54 мм терминал)
Красный: датчик +
Белый: преобразователь -
Черный: экранирование
2. Крайняя инструкция датчика температуры: раздела (3PIN, 2,0 мм терминал)
Красный и черный - проводка датчика температуры
Тип разделения: стандартный 10 -метровый кабель с каждым дополнительным 50 м кабеля, ослабление сигнала составляет 6 дБ
Трехъядерные инструкции по проводке:
Красный: датчик +
Синий: датчик температуры +
Черный: публичный-
Четырехъядерные инструкции по проводке:
Красный: датчик +
Желтый: преобразователь-
Синий, черный: датчик температуры
Применение уровня грязи:
В грязных резервуарах мешалки или струйные сопла размешают и смешайте грязь, чтобы обеспечить однородную смесь. Чтобы обеспечить непрерывный процесс, измерение уровня должно быть надежным и не зависящим от состава буровой грязи.