| штат: | |
|---|---|
| Количество: | |
YH-S/2000
Piezohannas
YH-S/2000
Глубоководный гидрофон подводный акустический преобразователь для глубокой глубины воды
Технические параметры:
модель | YH-S/2000
|
резонансная частота | 40 кГц |
Рабочая группа | 20 кГц 一下 |
получение чувствительности | ≥-200DB |
Статическая емкость | 5000pf |
направленность | Горизонтальный не направленный |
Вертикальный ненаправленного | |
Рабочая глубина | 2000 м, 4000 м, 6000 м, 10000 м |
спецификация кабеля | Φ5 мм два ядра экранированного кабеля |
Устойчивая к глубоководной конструкции структуры может работать на глубине воды 2000 м/4000 м/6000 м.
Смешанное нанесение нескольких конструкций схемы для улучшения чувствительности и статической емкости.
Полностью встроенная структура подвески, чтобы уменьшить влияние структурной вибрации.
Гидрофон принимает специальную устойчивую к давлению структуру, и между несколькими керамическими элементами принимается последовательная структура цепи, чтобы обеспечить получение чувствительности и статической емкости гидрофона под примером сопротивления давлению. Этот тип гидрофона имеет 2000 метров, 4000 метров, 6000 метров и десять тысяч метров. Конструкция электрической производительности и конструкция структуры преобразователя может быть выполнена в соответствии с требованиями пользователя.
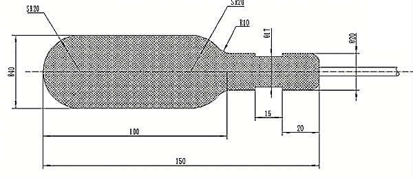
Внешний рисунок:
Дело применения подводного акустического преобразователя
Согласно потребностям клиента, мы можем разработать и производить пьезоэлектрические ультразвуковые преобразователи, Подводной акустический преобразователь, ультразвуковые зонды и датчики различных частот со стабильными характеристиками и высоким качеством.

2 Калибровка векторных гидрофонов в глубокой воде, максимальная глубина работы может достигать 3000 м, что может использоваться для наполненных маслом линейными элементами массива

3 Самая высокая эмиссионная реакция уклаженного сферического акустического преобразователя может достигать 156 дБ, а самый высокий уровень источника звука может достигать 202 дБ, что более чем на 6 дБ выше, чем обычные сферические преобразователи того же размера.
4. Типлкристаллический вектор гидрофон
По сравнению с пьезоэлектрическими керамическими преобразователями, размер транс-датчика, передаваемого монокристаллом PIN-PMN-PT, уменьшается более чем на 1/3, уровень отклика передачи напряжения на 2 ~ 10 дБ выше, полоса импеданса примерно в два раза выше, а -3db Пропускная способность примерно в два раза выше. Раз; Приемная чувствительность на 3 ~ 5 дБ выше. Монокристаллический вектор гидрофон имеет низкий уровень самостоятельного движения, а чувствительность на 4 ~ 6 дБ выше, чем пьезоэлектрический вектор гидрофон того же размера.
5. Фиксированный инсталляционный вектор гидрофон
Используя центральную колонку в качестве фиксированной основы, керамический сдвигный режим рабочего режима, рабочая полоса частот составляет 100-5000 Гц, установка проста, производительность стабильна и может заменить большинство векторных гидрофонов, установленных на различных платформах.
Отражатель в форме конуса используется для отражения окружности излучаемых звуковых волн тороидального датчика до конечной поверхности для работы, и относительно стабильное акустическое излучение луча может быть реализовано на конечной поверхности.
Глубоководный гидрофон подводный акустический преобразователь для глубокой глубины воды
Технические параметры:
модель | YH-S/2000
|
резонансная частота | 40 кГц |
Рабочая группа | 20 кГц 一下 |
получение чувствительности | ≥-200DB |
Статическая емкость | 5000pf |
направленность | Горизонтальный не направленный |
Вертикальный ненаправленного | |
Рабочая глубина | 2000 м, 4000 м, 6000 м, 10000 м |
спецификация кабеля | Φ5 мм два ядра экранированного кабеля |
Устойчивая к глубоководной конструкции структуры может работать на глубине воды 2000 м/4000 м/6000 м.
Смешанное нанесение нескольких конструкций схемы для улучшения чувствительности и статической емкости.
Полностью встроенная структура подвески, чтобы уменьшить влияние структурной вибрации.
Гидрофон принимает специальную устойчивую к давлению структуру, и между несколькими керамическими элементами принимается последовательная структура цепи, чтобы обеспечить получение чувствительности и статической емкости гидрофона под примером сопротивления давлению. Этот тип гидрофона имеет 2000 метров, 4000 метров, 6000 метров и десять тысяч метров. Конструкция электрической производительности и конструкция структуры преобразователя может быть выполнена в соответствии с требованиями пользователя.
Внешний рисунок:
Дело применения подводного акустического преобразователя
Согласно потребностям клиента, мы можем разработать и производить пьезоэлектрические ультразвуковые преобразователи, Подводной акустический преобразователь, ультразвуковые зонды и датчики различных частот со стабильными характеристиками и высоким качеством.

2 Калибровка векторных гидрофонов в глубокой воде, максимальная глубина работы может достигать 3000 м, что может использоваться для наполненных маслом линейными элементами массива

3 Самая высокая эмиссионная реакция уклаженного сферического акустического преобразователя может достигать 156 дБ, а самый высокий уровень источника звука может достигать 202 дБ, что более чем на 6 дБ выше, чем обычные сферические преобразователи того же размера.
4. Типлкристаллический вектор гидрофон
По сравнению с пьезоэлектрическими керамическими преобразователями, размер транс-датчика, передаваемого монокристаллом PIN-PMN-PT, уменьшается более чем на 1/3, уровень отклика передачи напряжения на 2 ~ 10 дБ выше, полоса импеданса примерно в два раза выше, а -3db Пропускная способность примерно в два раза выше. Раз; Приемная чувствительность на 3 ~ 5 дБ выше. Монокристаллический вектор гидрофон имеет низкий уровень самостоятельного движения, а чувствительность на 4 ~ 6 дБ выше, чем пьезоэлектрический вектор гидрофон того же размера.
5. Фиксированный инсталляционный вектор гидрофон
Используя центральную колонку в качестве фиксированной основы, керамический сдвигный режим рабочего режима, рабочая полоса частот составляет 100-5000 Гц, установка проста, производительность стабильна и может заменить большинство векторных гидрофонов, установленных на различных платформах.
Отражатель в форме конуса используется для отражения окружности излучаемых звуковых волн тороидального датчика до конечной поверхности для работы, и относительно стабильное акустическое излучение луча может быть реализовано на конечной поверхности.