| штат: | |
|---|---|
| Количество: | |
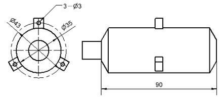
HS/H100-2Kⅱ
Piezohannas
HS/H100-2KⅡ
Двумерный векторный преобразователь подводного акустического преобразователя на 300 м
Технические параметры:
Модель | HS/H100-2Kⅱ |
|
Рабочая полоса | 100 Гц ~ 2000 Гц | |
Получение Чувствительность | При 1000 Гц: чувствительность скорости вибрации MVL ≥ - 200 дБ Чувствительность звукового давления MPL ≥ - 200 дБ | |
Направленность | Он имеет дипольную направленность. Разрешение kd ≥ 13 дБ; Максимальная дипольная чувствительность асимметрия Kmax ≤ 5DB; | |
Рабочая глубина | 300 м | |
Спецификация кабеля | Φ7mm10 Экранированный кабель Core (необязательно) | |
Масса
| 600 г | |
Заявление:
Подводные исследования акустики
Подводная система связи
Калибровка акустического поля
Военные и научные применения
Дело применения подводного акустического преобразователя
Согласно потребностям клиента, мы можем разработать и производить пьезоэлектрические ультразвуковые преобразователи, Подводной акустический преобразователь, ультразвуковые зонды и датчики различных частот со стабильными характеристиками и высоким качеством.

2 Калибровка векторных гидрофонов в глубокой воде, максимальная глубина работы может достигать 3000 м, что может использоваться для наполненных маслом линейными элементами массива

3 Самая высокая эмиссионная реакция уклаженного сферического акустического преобразователя может достигать 156 дБ, а самый высокий уровень источника звука может достигать 202 дБ, что более чем на 6 дБ выше, чем обычные сферические преобразователи того же размера.
4. Типлкристаллический вектор гидрофон
По сравнению с пьезоэлектрическими керамическими преобразователями, размер транс-датчика, передаваемого монокристаллом PIN-PMN-PT, уменьшается более чем на 1/3, уровень отклика передачи напряжения на 2 ~ 10 дБ выше, полоса импеданса примерно в два раза выше, а -3db Пропускная способность примерно в два раза выше. Раз; Приемная чувствительность на 3 ~ 5 дБ выше. Монокристаллический вектор гидрофон имеет низкий уровень самостоятельного движения, а чувствительность на 4 ~ 6 дБ выше, чем пьезоэлектрический вектор гидрофон того же размера.
5. Фиксированный инсталляционный вектор гидрофон
Используя центральную колонку в качестве фиксированной основы, керамический сдвигный режим рабочего режима, рабочая полоса частот составляет 100-5000 Гц, установка проста, производительность стабильна и может заменить большинство векторных гидрофонов, установленных на различных платформах.
Отражатель в форме конуса используется для отражения окружности излучаемых звуковых волн тороидального датчика до конечной поверхности для работы, и относительно стабильное акустическое излучение луча может быть реализовано на конечной поверхности.