| штат: | |
|---|---|
| Количество: | |
YH-T520
Piezohannas
YH-T520
Транссуктор связи 13 кГц с широкой передачей и приемом
Технические параметры:
Гемисферическая направленность
Широкополосная работа
Высокая мощность
Удаленная передача
Низкая потеря
Этот тип преобразователя в основном используется для связи на расстоянии, его отклика -3 дБ -пропускной способности может быть от 6 кГц -16 кГц, а чувствительность к получению полосы пропускания больше -185 дБ. Преобразователь принимает метод проектирования кольца переполнения для увеличения полосы пропускания преобразователя, а метод специального проектирования используется для реализации вертикальной направленности-это наполовину направляющая, горизонтальное направление является всенаправленным, и нет слепой зоны во всем пространстве. ниже преобразователя, когда работает.
Диаграмма вертикальной направленной 13 кГц
Передача отклика напряжения
Получение чувствительности
Характеристики импеданса Преобразователь
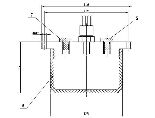
Внешний рисунок
Заявление:
Кабельный массив гидрофон
Подводные исследования акустики
Подводная система связи
Калибровка акустического поля
Военные и научные применения
Дело применения подводного акустического преобразователя
Согласно потребностям клиента, мы можем разработать и производить пьезоэлектрические ультразвуковые преобразователи, Подводной акустический преобразователь, ультразвуковые зонды и датчики различных частот со стабильными характеристиками и высоким качеством.

2 Калибровка векторных гидрофонов в глубокой воде, максимальная глубина работы может достигать 3000 м, что может использоваться для наполненных маслом линейными элементами массива

3 Самая высокая эмиссионная реакция уклаженного сферического акустического преобразователя может достигать 156 дБ, а самый высокий уровень источника звука может достигать 202 дБ, что более чем на 6 дБ выше, чем обычные сферические преобразователи того же размера.
4. Типлкристаллический вектор гидрофон
По сравнению с пьезоэлектрическими керамическими преобразователями, размер транс-датчика, передаваемого монокристаллом PIN-PMN-PT, уменьшается более чем на 1/3, уровень отклика передачи напряжения на 2 ~ 10 дБ выше, полоса импеданса примерно в два раза выше, а -3db Пропускная способность примерно в два раза выше. Раз; Приемная чувствительность на 3 ~ 5 дБ выше. Монокристаллический вектор гидрофон имеет низкий уровень самостоятельного движения, а чувствительность на 4 ~ 6 дБ выше, чем пьезоэлектрический вектор гидрофон того же размера.
5. Фиксированный инсталляционный вектор гидрофон
Используя центральную колонку в качестве фиксированной основы, керамический сдвигный режим рабочего режима, рабочая полоса частот составляет 100-5000 Гц, установка проста, производительность стабильна и может заменить большинство векторных гидрофонов, установленных на различных платформах.
Отражатель в форме конуса используется для отражения окружности излучаемых звуковых волн тороидального датчика до конечной поверхности для работы, и относительно стабильное акустическое излучение луча может быть реализовано на конечной поверхности.
Транссуктор связи 13 кГц с широкой передачей и приемом
Технические параметры:
Гемисферическая направленность
Широкополосная работа
Высокая мощность
Удаленная передача
Низкая потеря
Этот тип преобразователя в основном используется для связи на расстоянии, его отклика -3 дБ -пропускной способности может быть от 6 кГц -16 кГц, а чувствительность к получению полосы пропускания больше -185 дБ. Преобразователь принимает метод проектирования кольца переполнения для увеличения полосы пропускания преобразователя, а метод специального проектирования используется для реализации вертикальной направленности-это наполовину направляющая, горизонтальное направление является всенаправленным, и нет слепой зоны во всем пространстве. ниже преобразователя, когда работает.
Диаграмма вертикальной направленной 13 кГц
Передача отклика напряжения
Получение чувствительности
Характеристики импеданса Преобразователь
Внешний рисунок
Заявление:
Кабельный массив гидрофон
Подводные исследования акустики
Подводная система связи
Калибровка акустического поля
Военные и научные применения
Дело применения подводного акустического преобразователя
Согласно потребностям клиента, мы можем разработать и производить пьезоэлектрические ультразвуковые преобразователи, Подводной акустический преобразователь, ультразвуковые зонды и датчики различных частот со стабильными характеристиками и высоким качеством.

2 Калибровка векторных гидрофонов в глубокой воде, максимальная глубина работы может достигать 3000 м, что может использоваться для наполненных маслом линейными элементами массива

3 Самая высокая эмиссионная реакция уклаженного сферического акустического преобразователя может достигать 156 дБ, а самый высокий уровень источника звука может достигать 202 дБ, что более чем на 6 дБ выше, чем обычные сферические преобразователи того же размера.
4. Типлкристаллический вектор гидрофон
По сравнению с пьезоэлектрическими керамическими преобразователями, размер транс-датчика, передаваемого монокристаллом PIN-PMN-PT, уменьшается более чем на 1/3, уровень отклика передачи напряжения на 2 ~ 10 дБ выше, полоса импеданса примерно в два раза выше, а -3db Пропускная способность примерно в два раза выше. Раз; Приемная чувствительность на 3 ~ 5 дБ выше. Монокристаллический вектор гидрофон имеет низкий уровень самостоятельного движения, а чувствительность на 4 ~ 6 дБ выше, чем пьезоэлектрический вектор гидрофон того же размера.
5. Фиксированный инсталляционный вектор гидрофон
Используя центральную колонку в качестве фиксированной основы, керамический сдвигный режим рабочего режима, рабочая полоса частот составляет 100-5000 Гц, установка проста, производительность стабильна и может заменить большинство векторных гидрофонов, установленных на различных платформах.
Отражатель в форме конуса используется для отражения окружности излучаемых звуковых волн тороидального датчика до конечной поверхности для работы, и относительно стабильное акустическое излучение луча может быть реализовано на конечной поверхности.